水权交易
水权交易是指在用水权分配与明晰基础上,通过市场机制实现用水权在地区间、流域间、流域上下游、行业间、用水户间流转的行为。水权交易能够有效提升水资源集约节约安全利用水平,促进水资源优化配置,保障农业浇灌、工业生产的水资源供给和高质量发展、生态安全的用水需求。
奉贤区水务局为贯彻《关于推进用水权改革的指导意见》文件,于2024年在上海市环境能源交易所用水权交易分平台成功促成一宗水权交易,该交易也是《上海市用水权交易管理指南(试行)》(沪水务〔2024〕372号)发布以来的首批线上交易。该项水权交易成功是政府与市场两手发力的成效,标志着奉贤区在水资源管理方面朝着市场化方向迈出了坚实的步伐。

案例
上海之鱼绿化养护标段水权交易试点项目
交易受让方
上海奉贤园林绿化工程有限公司
案例背景
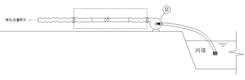
近年来,奉贤区生态环境规模和品质不断提升,绿化率逐年提高,公共空间绿化环境更优美。这对绿化养护单位提出了更高的要求,养护成本也在增加。就养护用水来说,目前以市政自来水为主,水费比较高。因此在保证养护质量的前提下,采用河道水进行养护可以降低水费成本,同时有效节约自来水使用量。而如果使用河道水进行绿化养护,相应的许可申请、取水口建设、维护成本较高。

水权交易需求
为使养护单位以新模式高效率地取得合法河道取水权,大大简化取水许可手续。
养护单位通过请专业第三方出具水权交易受让方河道取水方案可行性研究报告,确定合理的取水、用水和退水方案,核定年交易水量为1.28万m³/a。

同时根据养护取水需求,沿河设置13个取水点,各取水点位分布均匀,覆盖奉贤园林上海之鱼绿化养护标段浇灌范围,方便养护工人就近取河道水浇灌草坪、花境。
取 水 计 量


点 位 分 布
此外,根据养护取水设施,特制取水计量设施,便于计量监管,低成本地解决了此前的难题。

水权交易将水资源从相对富余的主体流转到更有需求的主体,实现了奉贤区内水资源的优化配置,解决企业用水需求,降低企业运营成本,实现多方共赢。

奉贤区将继续完善水权交易配套工作,形成可复制可粘贴的工作模式,进一步推进水资源的有效利用和保护,为奉贤区及上海市经济社会的可持续发展做出积极的贡献。
报送:钟敏(区水务局)
编辑:夏阳
奉贤国庆吃喝玩乐指南,看这篇就够了!
我的“父亲”!迟到73年的初次“见面”
国庆游玩攻略来啦!海湾镇之行快安排上!
立足江南科技文化,“理响贤城三人行”带来一场跨界交流的文化盛宴!
收藏!奉贤各医疗机构国庆假期门急诊安排一览