过山车是一项极度刺激的游乐设施,乘坐时能够感受风驰电掣般的速度与激情,受到了年轻人的喜爱和追捧。但是也有很多人对此表示非常担心:“过山车最高时速可以超过百公里/小时,人在上面会不会因为速度太快飞出去?”

为了打消游客的顾虑,
确保乘坐安全,
过山车实际上有多重安全保护。
第一重:加速度
“牛顿大法护体”
过山车本身是没有动力的,在轨道的非滑行区,通过机械装置(一般是链条和钢丝绳)将列车提升到足够高的高度,或利用电磁弹射、惯性轮等将静止的列车转瞬间发射,以此获得足够的初始动能。

随后列车来到滑行区,这里的俯冲、翻转、立环等造型各异的轨道为列车带来速度、加速度的变化,过山车的乐趣大部分也来源于此,在速度变化的安全阈值内,故意让乘客体验危险和“失控”的刺激。在这一过程中,受力始终平衡,这让乘客的体感就好像“锁”在过山车的座席上。
第二重:列车轮架结构
“抱紧了就不撒手”
尽管过山车的外观和刺激程度不尽相同,其结构型式也有着各自的特点,但它们大都包括:转向架、轮架结构、车粱、载客装置、车辆连接器等组成部分。

其中确保过山车不会“出轨”的最重要的部件是转向架和轮架结构。轮架结构一般由主轮、底轮和侧轮组成,主轮用于控制过山车沿轨道行走,侧轮能够使过山车在过弯时灵活转动,底轮主要用于过山车沿轨道翻滚时控制行进方向,左右各有一组车轮,从三个方向将列车牢牢抱紧在轨道上。

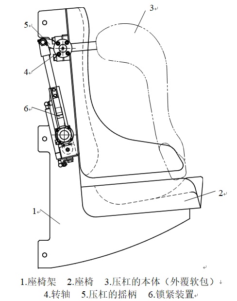
第三重:安全压杠
“放飞的灵魂,禁锢的身体”
当我们在过山车上,即便失去了面部形象管理,为什么身体也还能坐得“板板正”?
因为有它 ↓

安全压杠是一套将乘客身体约束在座席上的刚性结构机械装置,在某种意义上可以被视为游乐设施独有的安全部件,越是刺激的游乐项目所使用的安全压杠“级别”越高。
护胸压肩式

环球影城
霸天虎过山车
压背式
迪士尼
创极速光轮

压腿式

环球影城
鹰马飞行
安全压杠有足够的机械强度,但真正起到保护作用的不是包裹着软性材质的护圈或胶垫,而是藏在座椅后面的锁紧装置。

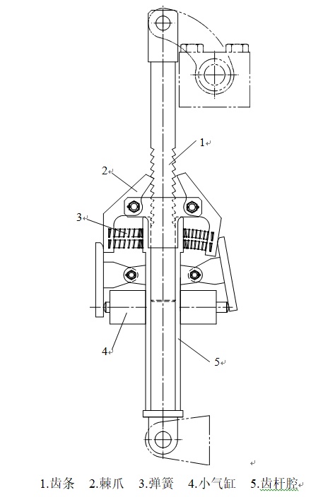
(护胸压肩式安全压杠内部结构)
齿条锁紧是目前游乐设施上使用最广泛的压杠锁紧方式之一,能够在确定位置或区段内自动维持锁紧状态。非解锁状态下,棘爪在槽内紧贴齿条并单向锁定,不妨碍齿条向上运动,压杠越压越紧,确保了安全压杠不能被乘客随意打开或受外力影响松动打开。

(齿条锁紧装置结构简图)
压杠有一定的调节能力,可以适应不同体型的乘客。国家标准GB 8408《大型游乐设施安全规范》规定,压杠压紧时施加给成人乘客的力应不大于150N(儿童应不大于80N),对于非无级调节的压杠,在压紧状态时端部游动量应不超过35mm。
有分寸的保护,才能给你最好的安全感~
Tips
现代过山车有着“游乐设施之王”的美誉,堪称是一家大型游乐园的王牌项目,大部分过山车都会对乘客的年龄、身高、体重和身体健康状况有所要求,且应标注在设施的醒目位置,乘客应当提前仔细阅读、严格遵守游玩须知。
(部分图文资料来自网络)
本文来源:上海市场监管